
| ITEM | DESCRIPTION | QTY. |
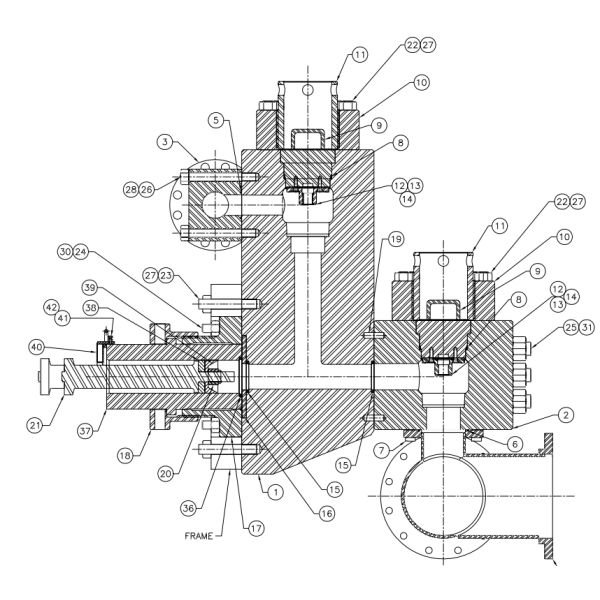
| 1 | discharge module | 3 |
| 2 | suction module | 3 |
| 3 | discharge manifold | 1 |
| 4 | suction manifold | 1 |
| 5 | o ring, discharge manifold to fluid end | 3 |
| 6 | o-ring suction manifold to fluid end | 3 |
| 7 | bolt | 24 |
| 8 | gasket,valve cover | 6 |
| 9 | valve cover | 6 |
| 10 | flange,valve cover | 6 |
| 11 | lock,valve cover | 6 |
| 12 | valve guide | 6 |
| 13 | bushing valve guide | 6 |
| 14 | CSCR flat SK .500 UNC 1.00 | 12 |
| 15 | gasket,module & wear plate | 6 |
| 16 | wear plate | 3 |
| 17 | liner lock flange | 3 |
| 18 | liner lock ring | 3 |
| 19 | dowel pin | 6 |
| 20 | nut lock nylon | 3 |
| 21 | piston rod | 3 |
| 22 | stud | 72 |
| 23 | stud | 30 |
| 24 | stud | 18 |
| 25 | stud | 18 |
| 26 | stud | 18 |
| 27 | nut | 102 |
| 28 | nut | 18 |
| 29 | ||
| 30 | nut coupling | 18 |
| 31 | nut hvy hx | 18 |
| 32 | valve spring | 6 |
| 33 | valve insert | |
| 34 | vakve seat | 6 |
| 35 | valve | 6 |
| 36 | liner gasket | 3 |
| 37 | liner | 3 |
| 38 | piston | 3 |
| 39 | piston rubber | 3 |
| 40 | baffle structure | 3 |
| 41 | bolt | 9 |
| 42 | nut | 9 |
| I Shaped Module | L Shaped Module | One Bonded Module | Two-pieces Module |
![]() |
![]() |
![]() |
![]() |
| F Series Mud Pump Module | PZ Series Mud Pump Module | NOV P Series Module | Southwest Type Module |
![]() |
![]() |
![]() |
![]() |