DIN 81906 Casting Steel Mooring Warping Roller Ship Mooring Equipment
Description:
DIN 81906 warping roller strictly complies with German production standard DIN 81906-1999.It can be used together with conical pedestal (DIN 81907); Besides, this roller has high abrasion resistance. If you are interested in our fairlead rollers or other marine equipment, please contact us right now without any hesitation.
Main Technical Specification:
1. Technical Standard: DIN81906-1999
2. Type: 1,2,3,5,8,12,20,32 Warping Roller
3. Roller Diameters: 160~560mm
4. Roller No.: Single Roller
5. Roller Weight:12~580kg
6. Materials: Mild Steel, C-Mn Steel, Stainless Steel, Casting Steel, Nodular Cast Iron
7. Surface treatment: sandblasting to S2.5 + one layer of epoxy shop primer, Galvanized, Polished, customized surface treatment available.
8. Classification Certificates:CCS, NK, BV, ABS, DNV-GL, LR, KR, IRS, RS, Etc.
9. Can be Customized
Main Technical Parameter:
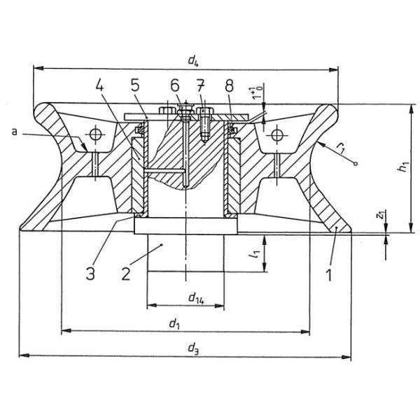
| Nominal No. | Safe Working Load | d1 mm | d3 mm | d4 mm | d14 mm | h1 mm | l 1 mm | r1 mm | Z1 mm min | Weight (kg) |
| 1 | 10 | 160 | 210 | 195 | 60 | 80 | 50 | 25 | 1,5 | 12 |
| 2 | 20 | 200 | 265 | 245 | 70 | 102 | 32 | 2,5 | 18 | |
| 3 | 32 | 250 | 330 | 300 | 85 | 126 | 42 | 33 | ||
| 5 | 50 | 320 | 420 | 390 | 106 | 160 | 55 | 68 | ||
| 8 | 80 | 400 | 530 | 490 | 125 | 208 | 60 | 73 | 136 | |
| 12 | 125 | 450 | 610 | 560 | 160 | 256 | 85 | 95 | 225 | |
| 20 | 200 | 500 | 640 | 620 | 190 | 278 | 100 | 111 | 4,5 | 336 |
| 32 | 320 | 560 | 780 | 740 | 230 | 348 | 150 | 125 | 580 |

Drawing of DIN81906 Casting Steel Mooring Warping Roller
