JM SERIES Multi-functional colloid mill
1. Summary
JM FB SERIES GRINDER is a new-type equipment of wet type super micro grain processing, suitable for the homogenization, emulsification, separation, smash and milling of various emulsions. It is widely used in foodstuff (fruit jam, juice, albumen milk, soy milk, milk tea, dairy, beverage, etc.), pharmacy (various syrups, nutrition liquid, Chinese Traditional Patent Medicine, poultice, etc.), daily chemical (toothpaste, cosmetic, washing lotion, etc.), chemical industry (pigment, dyestuff, dope, lubrication, petroleum activator, etc.), emulsion asphalt, coal floating agent, ceramic glaze, emulsion detonator, nanometer material, etc.
2. Principle
JM series colloid mill is the shear, grinding and high speed stirring force. The grinding and grinding depends on the relative motion of the tooth shaped surface of the grinding disc. One of them is rotating at high speed and the other is still at rest through the high speed shear force and friction between the material through the toothed surface and the high frequency vibration at the same time. The high speed vortex and other complex forces make the material grinding, emulsifying, crushing, mixing, dispersing and homogenizing, thus getting the high efficiency of fine ultrafine particle pulverization.
3, Equipment construction
JM series colloid grinding system with many patents: compact design, practical new type, beautiful appearance, good seal, stable performance, easy operation, simple decoration, durable, wide adaptation, high production efficiency, is the most ideal processing equipment for processing fine granular fine materials.
JM series of colloid grinding products, except for motor and parts, all of the parts which are in contact with the material are made of high strength stainless steel, especially, dynamic and static grinding disc is strengthened. Therefore, it has good corrosion resistance and wear resistance, so that the processed materials are clean and clean. You can also customize the equipment separately according to the special requirements of users.
The JM series colloid mill consists of three parts: grinding head part, base drive part, and special motor. The most important part of the machine is the moving parts of the machine core and the combination parts of the static disc and the mechanical seal. Therefore, according to the nature of the material being processed, the selection must be different. But the material is made of stainless steel or special materials. The motor is specially designed according to the different requirements of the model, and a water retaining plate is installed at the flange end of the motor to prevent leakage.



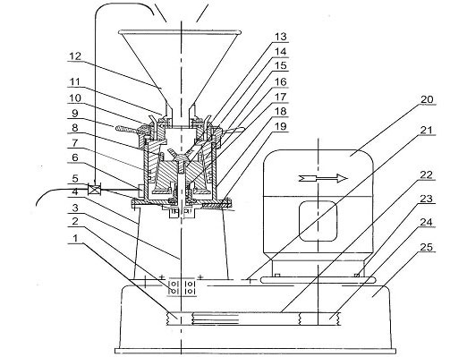
Structure diagram:

Chart 1
1. Driven pulley 2. Bearing 3. Spindle 4. Base 5. Bearing 6. Outlet 7. O-ring 8. Feed scraper 9. Handle 10. Gland 11. Live connection 12. Feeding hopper 13. Rotary blade cutter 14. Dynamic grinding disc 15. Static grinding disc 16. Adjusting disc 17. Mechanical seal assembly 18. Housing 19. Cooling water inlet and outlet and drain holes 20. Motor 21. Adjusting screw 22. V-belt 23. Motor base 24. Active pulley 25. Base
5, Installation and operation
1) Connect input hopper (inlet pipe), outlet port or outlet cycling pipe. Then connect cooling water pipe and drainage pipe. For the grinder without feed hopper, please connect the inlet of the machine with pipeline, please clean the pipeline to make sure no welding bits and metal pieces remaining in the pipe.The location of the machine is better near or under the bottom of the container or tank connected. In order to reduce the flow force to products, it is better to use simle way to connect the machine directly to the container or tank with using little tube bend as possible. Fast-open structured tube clamps can be used to connect the pipeline with the inlet and outlet of the machine.
2) After installing start device of electric power and (conditional users can match with ampere meter and indicator lamp) connecting electrical source, the operation direction of machine should be especially noticed to judge whether the motor rotates normally or not, or observe whether the rotation direction is in accordance with the “red rotation direction sign” on the grinder from inlet port. Reversion is forbidden.
3) Adjust clearance of millstone, “anticlockwise” screw two handles of command dial to loose them and “clockwise” screw command dial in case of not starting the machine, stretch one hand into the square hole of pedestal to rotate motor leaf, stop it when there’s slight friction sound, at this time, the reading of index confirms that the clearance between movable and static millstones is “0”. But the reading of the index should be remembered, for it is not 0 degree, the fact is that the clearance of millstone is “0”, then reverse (anticlockwise) command dial for several circles to make the clearance larger then 0. Generally, when granularity of processed materials is achieved as required, please make the clearance of millstone as great as possible. In this way, you can prolong the service life of the millstone. Finally, rotate the handle clockwise to tighten the adjusting ring, so as to make the clearance of millstone fixed.
4) Put through cooling water, put processed material into the grinder to process and produce after the grinder operates normally.
5) Put proper quantity of water or other liquids that are related to processed material into the material inlet before shutting down, and put material into it immediately after starting, or the hard combined sealing part may be damaged, or the motor may be burnt because of leakage.
6) Make sure there isn’t any quartz, cullet, metal scraps or other hard materials in processed materials, it is better to use 60 mesh sieve to filter and process. Or the movable and static millstones may be damaged.
7) Motor load of processed materials should be noticed, the material should be reduced if it is overload.
8) The material outlet valve is not allowed to close down when the grinder is operating to prevent leakage because of over-pressure in the cavity of grinder.
9) JM inline grinder belongs to precise machinery, with little clearance between millstones and with rapid rotate speed. Operators should be on duty strictly, operate according to the regulations, shut down the machine immediately if there is failure, and carry out production after eliminating it.
10) After using, the grinder should be disinfected and the inner part should be cleaned out thoroughly, make sure not to remain material in it to avoid damage because of hard machinery’s cohesion.
7, Function and technical parameters
The large-yield range is calculated by measuring 98% “water”, 2% “rice, beans” as solids and emulsified fineness of 50um. JM-XXX-1 single cold model improved air compressor. Split type fully enclosed colloid mill - fine double cooling can be transformed
Performance table
| Parameter Model | Emulsification fineness(um) | (capacity) (T/h) | Grinding disc dia (mm) | Inlet dia mm | outlet dia mm | Cooling pipe joint (mm) | speed (r/min) | power (Kw) | dimension (L×W×H) | WEIGHT(Kg) |
| JM-FB500a-1D | 2-50 | 5-45 | Ø500 | Ø165 | Ø80 | Ø12 | 2900 | 37 | 1300×550×1100 | 820 |
| JM-FB500b-1D | 2-50 | 5-45 | Ø500 | Ø165 | Ø80 | Ø12 | 2900 | 45 | 1300×550×1100 | 760 |
| JM-FB320-1D | 2-50 | 5-32 | Ø320 | Ø125 | Ø65 | Ø12 | 2900 | 30 | 1100×550×1100 | 580 |
| JM-FB320a-1D | 2-50 | 5-32 | Ø320 | Ø125 | Ø65 | Ø12 | 2900 | 37 | 1100×550×1100 | 650 |
| JM-FB320a-1D | 2-50 | 5-32 | Ø320 | Ø125 | Ø65 | Ø12 | 2900 | 45 | 1100×550×1100 | 840 |
| JM-FB250-1D | 2-50 | 2-20 | Ø250 | Ø125 | Ø60 | Ø12 | 2900 | 22 | 1100×550×1050 | 452 |
| JM-FB250a-1D | 2-50 | 2-20 | Ø250 | Ø125 | Ø60 | Ø12 | 2900 | 30 | 1100×550×1050 | 472 |
| JM-FB250b-1D | 2-50 | 2-20 | Ø250 | Ø125 | Ø60 | Ø12 | 2900 | 37 | 1100×550×1050 | 510 |
| JM-FB200a-1D | 2-50 | 2-10 | Ø200 | Ø100 | Ø50 | Ø12 | 2900 | 15 | 820×410×1050 | 350 |
| JM-FB200b-1D | 2-50 | 2-10 | Ø200 | Ø100 | Ø50 | Ø12 | 2900 | 22 | 820×410×1050 | 415 |
| JM-FB200c-1D | 2-50 | 2-12 | Ø200 | Ø100 | Ø50 | Ø12 | 2900 | 30 | 100×500×1000 | 455 |
| JM-FB180a-1D | 2-50 | 2-6 | Ø180 | Ø90 | Ø40 | Ø12 | 2900 | 11 | 820×450×950 | 340 |
| JM-FB180b-1D | 2-50 | 2-6 | Ø180 | Ø90 | Ø40 | Ø12 | 2900 | 15 | 820×450×950 | 360 |
| JM-FB180c-1D | 2-50 | 2-7 | Ø180 | Ø90 | Ø40 | Ø12 | 2900 | 22 | 820×500×990 | 400 |
| JM-FB140a-1D | 2-50 | 1-4 | Ø140 | Ø66 | Ø32 | Ø12 | 2900 | 7.5 | 810×400×930 | 280 |
| JM-FB140b-1D | 2-50 | 1-4 | Ø140 | Ø66 | Ø32 | Ø12 | 2900 | 11 | 810×410×930 | 305 |
| JM-FB140c-1D | 2-50 | 1-4 | Ø140 | Ø66 | Ø32 | Ø12 | 2900 | 15 | 810×410×930 | 350 |
| JM-FB130-1D | 2-50 | 0.7-3 | Ø130 | Ø65 | Ø30 | Ø12 | 2900 | 5.5 | 810×410×930 | 280 |
| JM-FB120-1D | 2-50 | 0.7-2.5 | Ø120 | Ø65 | Ø30 | Ø12 | 2900 | 5.5 | 810×410×930 | 275 |
| JM-FB100-1D | 2-50 | 0.5-2 | Ø100 | Ø65 | Ø30 | Ø12 | 2900 | 5.5 | 800×400×920 | 270 |
| JM-FB90-1D | 2-50 | 0.5-1.5 | Ø90 | Ø47 | Ø20 | Ø12 | 2900 | 4 | 700×340×810 | 125 |
| JM-FB80-1D | 2-50 | 0.5-1 | Ø80 | Ø47 | Ø20 | Ø8 | 2900 | 4 | 700×340×810 | 115 |
| JM-FB65-1D | 2-50 | 0.2-0.5 | Ø65 | Ø47 | Ø20 | Ø8 | 2900 | 2.2 | 720×350×780 | 90 |
| JM-FB60-1D | 2-50 | 0.02-0.1 | Ø60 | Ø47 | Ø20 | Ø8 | 2900 | 1.5 | 650×300×700 | 60 |