Laparoscopic Surgical Medical Disposable Circular Stapler for Esophagus
Circular Stapler Characters
1. The green zone of indicator can easily show the thickness of tissue to be cut and anastomosed.
2. Reasonable number of nails conduce to reduce the postoperative bleeding.
3. Imported Titanium with higher intensity and tensility.
4. Integral shaping anvil to ensure the shape of nails.
5. Large diameter ratio, avoids anastomotic stenosis effectively.
6. Minimum gap between anvil and cartridge to avoid the demage to tissue caused by over pressure.
7. Streamline design is according with the human engineering, which has a comfortable powerful operation feel.
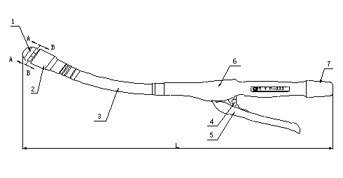
External Structure


1. Anvil 2. Stapling and Cutting Assembly 3. Elbow 4. Security Botton 5. Free Handle 6. Fixed Handle 7.Adjusting Nut 8.Gasket 9. Annular Knife 10. Suturing Staple
Specification
| Specification | Ouside Diameter (mm) | Cutting Inner Diameter (mm) | Staple Quantity (pcs) | Anvil Color |
| QYW-21 | 21.8 | 13.2 | 18 | Dark Blue |
| QYW-23.5 | 24.3 | 15.2 | 18 | Gold |
| QYW-25.5 | 26.2 | 17.2 | 20 | Blue |
| QYW-28.5 | 29.2 | 20.2 | 24 | Green |
| QYW-31.5 | 32 | 22.2 | 30 | White |
| QYW-33.5 | 33.8 | 24.2 | 32 | Gray |