Concrete pump is a machine that uses horizontal or vertical pipes to continuously transport concrete to the pouring point. It can transport concrete horizontally and vertically at the same time and works reliably. Concrete pumps are suitable for situations where the amount of concrete is large, the operation cycle is long, and the pumping distance and height are large. It is one of the important equipment in the construction of high-rise buildings.
1. Purpose, classification and number of concrete pumps and concrete pump trucks
Concrete pumps are divided into three types according to the structure of the distribution valve: tubular valve, gate valve and rotary valve. Currently commonly used are hydraulic concrete pumps with double-cylinder piston tubular valves and gate valves. This section focuses on these two types of concrete pumps.
According to the displacement size, they can be divided into small (pump displacement less than 30m3/h), medium-sized (pump displacement 30-80m3/h) and large concrete pumps (pump displacement greater than 80m3/h).
According to the driving form, it can be divided into electric and internal combustion concrete pumps.
According to the mode of movement, it is divided into fixed, trailer and self-propelled concrete pumps (concrete pump trucks). Stationary concrete pumps are mostly driven by electric motors and are suitable for construction sites with large quantities of work and little movement. The trailer-mounted concrete pump is a pump mounted on a simple trolley. Because it is equipped with wheels, it can be easily moved at the construction site and towed and hauled on the road. This form is more commonly used in our country.

2. Structure and working principle of concrete pump
The HBT60 trailer-mounted concrete delivery pump is a hydraulic double-cylinder piston concrete pump driven by a diesel engine. The pumping system adopts a closed oil circuit, constant power control, and has the functions of hydraulic stepless speed regulation and concrete delivery volume. The pump is mainly composed of a power unit, a concrete pushing mechanism, a concrete distribution valve, a concrete mixing mechanism, a hydraulic system, an electronic control system, a lubrication system and a supporting traveling mechanism.

1 mixing mechanism; 2 hopper assembly; 3 hydraulic oil tank; 4 hydraulic valve; 5 cooling system; 6 hydraulic pump; 7 engine; 8 frame; 9 ground wheels; 10 legs; 11 electrical system; 12 pumping system; 13 haul bridge
1) Power device
The concrete drag pump power device has two types: diesel engine and electric motor. It consists of diesel engine (or electric motor) 1, coupling 2, pump base 3, main pump 4 and gear pump 5. The engine (motor) power and the selection of the main oil pump must match. The main oil pump adopts an axial piston variable pump. The output flow is proportional to the driving speed and the displacement of the pump, and can vary steplessly between maximum and zero. It has Constant power control, pressure cut-off and electrical proportional flow adjustment functions.

Power unit structure diagram
a. Diesel engine power unit; b. Electric motor power unit
1 diesel engine (or electric motor); 2 coupling; 3 pump base; 4 main oil pump; 5 gear pump
2) Pumping mechanism
The pumping system is a power actuator that converts hydraulic energy into mechanical energy. Its function is to push the concrete to overcome the resistance of the pipeline and reach the pouring site.
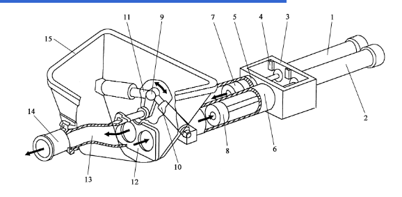
The pumping mechanism mainly consists of two main cylinders 1, 2, water tank 3, reversing mechanism 4, two concrete cylinders 5, 6, two concrete cylinder pistons 7, 8, swing arm 9, two swing cylinders 10, 11, It is composed of distribution valve 13 (also called S pipe), discharge port 14 and hopper 15.

1, 2 main oil cylinder; 3 water tank; 4 reversing mechanism; 5, 6 concrete cylinder;
7, 8 concrete cylinder piston; 9 swing arm; 10, 11 swing cylinder; 12 spectacle plate;
13 distribution valve; 14 discharge port; 15 hopper
Pistons 7 and 8 of the concrete cylinder are connected to the piston rods of the main cylinder 1 and 2 respectively. The main cylinder makes reciprocating motion under the action of hydraulic oil. When one cylinder moves forward, the other cylinder retreats; the outlet of the concrete cylinder is connected to the hopper, and one end of the distribution valve It is connected to the discharge port, and the other end is connected to the swing arm through a spline shaft. Under the action of the swing cylinder, it can swing left and right.
When pumping concrete material, under the action of the main oil cylinder, the piston 7 advances and the piston 8 retreats. At the same time, under the action of the swing oil cylinder, the distribution valve 13 is connected to the concrete cylinder 5, and the concrete cylinder 6 is connected to the hopper. In this way, the piston 8 retreats to suck the concrete material in the hopper into the concrete cylinder, and the piston 7 moves forward to send the concrete material in the concrete cylinder into the distribution valve and pump it out. When the concrete piston 8 retreats to the end of the stroke, the reversing device 4 in the water tank 3 is triggered, the main cylinders 1 and 2 are reversed, and the swing cylinders 10 and 11 are reversed at the same time, so that the distribution valve 13 is connected to the concrete cylinder 6, and the concrete cylinder 5 Connected to the hopper, at this time, piston 7 moves backward and piston 8 moves forward. This cycle achieves continuous pumping.
3) Concrete distribution valve
The function of the distribution valve is to control the concrete flow path in the hopper, two concrete cylinders and delivery pipes. The distribution valve is a key component of the piston concrete pump. The main difference in the structure of the concrete pump is the distribution valve. It directly affects the structural form, suction performance, pressure loss and application scope of the concrete pump. Such as the layout of the hopper and mixing device, the outlet form of the pump, the transport volume efficiency, and the reliability of the work, etc.; 90% of clogging failures in pumping concrete occur at the distribution valve.
The two cylinders of the concrete pump share a collecting hopper, and the two cylinders are in the suction stroke and discharge stroke respectively. The working cylinder in the suction stroke is connected with the hopper. The working cylinder in the discharge stroke is connected to the delivery pipe, so the distribution valve should have the function of two-position four-way (through the hopper, two cylinders and delivery pipe).
Distribution valves can be divided into three categories: rotary valves, gate valves and tubular valves. Currently, the distribution valves commonly used in hydraulic concrete pumps are gate valves and pipe valves.
4) Hopper and mixing system
The hopper and stirring system includes: hopper 4, stirring shaft components 9, 10, 11, transmission device 13 and lubrication device.

a. Hopper structure; b. Stirring mechanism
1 screen; 2 rear plate; 3 stop hook; 4 hopper body; 5 material door;
6. Upper bucket body; 7. End cover; 8. Bearing seat; 9. Left mixing blade; 10. Mixing shaft;
11 Right mixing blade; 12 Motor base; 13 Mixing motor
The volume of the hopper should be adapted to the concrete delivery capacity of the pump. The upper part of the hopper is equipped with a grid screen to prevent large pieces of aggregate or debris from entering the hopper. There are mixing blades in the hopper, which perform secondary mixing of the concrete mixture and have the feeding function of pushing the concrete mixture to the concrete distribution valve port.
5) Pump support and traveling mechanism
The support and traveling mechanism are mainly composed of chassis, axle (including running wheels), guide wheels and outriggers.
The chassis is the basic component for connecting the various components of the towing pump. It is welded by profiles and steel plates and plays a supporting role in supporting each component. The front of the chassis is connected to the hopper, and there is a trailer at the rear, which can transport the trailer pump from one construction site to another.

Figure 4-40 Base frame structure
1. Hopper fixing seat; 2. Hydraulic oil tank fixing bracket; 3. Main valve block support; 4. Water tank fixing seat;
5 diesel engine mounting base; 6 battery box base; 7 guide wheel mounting plate; 8 trailer; 9 movable legs;
10 tool box; 11 car mounting base; 12 frame
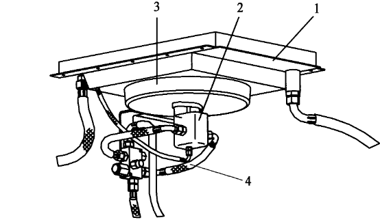
6) Water pump device
The water pump device is a water washing device that uses a gate valve drag pump to clean pipes and pumps. It consists of water tank, water filter, water pressure gauge, oil tank, water valve four-way block, discharge valve, suction valve, etc.

Figure 4-41 Water pump device structure
1 water tank; 2 water filter; 3 water pressure gauge; 4 oil cylinder; 5 water valve four-way block;
6, 7 discharge valves; 8, 9 suction valves; A, B oil inlet and outlet; C water inlet; D water outlet
7) Cooling system
There are three cooling methods for hydraulic oil: water cooling, air cooling, and air cooling + water cooling. Different cooling methods can be selected according to regional climate differences and construction conditions.

Figure 4-42 Simplified diagram of water cooling system
1-Water inlet and outlet; 2-Valve; 3-Oil return pipe; 4-Cooler; 5-Oil inlet pipe

Figure 4-43 Air cooling system
1-radiator; 2-hydraulic motor; 3-fan; 4-hose