Automatic Ampoule Injection Vision Inspection & Leak Testing Machine
Main Application
The machine is mainly used for inspecting of the impurities (including glass chips, fiber, hear, white block, white spot etc.), liquid level and leak for Ampoule.
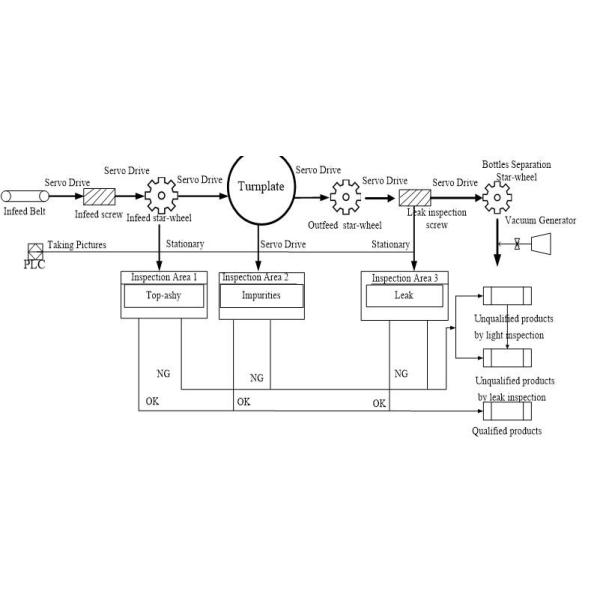
Work Process
Products to be inspected → Infeed by conveyor belt → Separate bottles by infeed screw→Arrange bottles by star wheel →Press bottles→ Rotate bottles→ Stop→Take photos →Process and analyze photos→ Arrange bottles by star-wheel → Separate bottles by leak screw → Leak inspection → Separate the qualified bottles and the rejected products by star-wheel

Work Principle
Visual inspection principle is used for inspecting the impurities in the machine, the products rotate at high speed and then stop immediately, while the industrial camera takes photos of them continuously, then the computer system analyze the images to judge whether the products is qualified; and the leak inspection is done by the high voltage discharge principle; finally, the good products and the rejected products to be separated automatically.
Main Technical Parameters
| Application Scope | 1-20ml ampoule injection; oral liquid, vial injection etc. |
| Inspection Items | visible glass chips, fiber, hear, white block, white spot, liquid level and cracks |
| Inspection Accuracy | visible impurities, ≥40μm(adjustable); leak, ≥0.1μm of micro-pore and crack |
| Speed | 600pics/min(Max) |
| Electrical Capacity | 9.5kW |
| Voltage | 380V/50Hz |
| Working Height | 920±40 mm |
| Dimensions | 3920mmX 2074mmX2000mm (L×W×H) |
| Weight | about 3500kg |
Application Scope: 1-20ml ampoule injection; oral liquid, vial injection etc.
Inspection Items: visible impurities (glass chips, fiber, hear, white block, white spot etc.), liquid level and leak
Inspection Accuracy: 600pics/min(Max)
Inspection Speed: visible impurities, ≥40μm(adjustable); leak, ≥0.1μm of micro-pore and crack
Electrical Capacity: 9.5kW
Voltage: 380V ,50Hz
Work Table's Height: (920±40) mm
Overall Dimensions: 3920mmX 2074mmX2000mm (L×W×H)
Net Weight: about 3500kg
Advantages:
The whole machine adopts full servo drive and various patent technology design, with completely independent intellectual property rights.
The visible impurities inspection conforms to the Knapp regulation which commonly used 3,,;
Leak inspection of the machine can inspect ultra-fine holes and cracks that cannot be done by the traditional methods.
Key components and parts are processed by numerical control. The main purchased parts are of international famous brand, making sure of the equipment running stably and reliably.
The rotary bottle servo system and the inspection device are set on the platform panel, which can effectively prevent the device's transmission and electrical appliances from damage of the liquid medicine and cleaning solution and make it more convenient to maintain.
All specification parts adopt quick loading and unloading method, the turnplate adopts servo automatic lifting, making it simpler and faster to replace the specifications.
Non-equidistant screw infeed is adopted, which not only can meet the requirements of single production, but also can applicable for linkage usage.
Needle-lie electrode is adopted in the machine based on the principle of discharge from top end, making its inspection effect better.
To realizeevery side ofeach bottlecan be inspected online in turn.
The high frequency and high voltage power supply independently developed by our company has low energy and small currentwithin a short time, so there will be no secondary damage to the drug.
With functions of the fault alarm and fault display; With functions of the door-open stop system, ozone catalysis and electromagnetic protection.
All the inspection data can be saved, uploaded and printed.





