Current conducting arm
Product description:
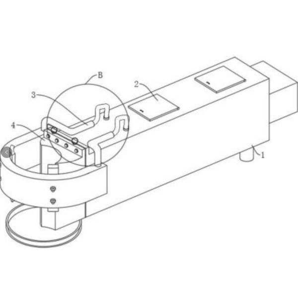
The conducting beam is made of copper steel composite plate or aluminum steel composite plate, the section shape is rectangular, the internal water cooling, cancel the water-cooled conductive copper tube, electrode holder and the transverse arm between many insulation links, so that the transverse arm structure is greatly simplified in ultra-high power electric arc furnace.
