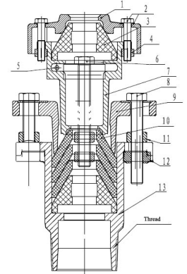
Regular Stuffing Box (SB) is specially designed for pumping unit.
1.The polished rod stuffing box is designed with two sealing structure with reasonable structure, convenient operation, reliable sealing.
2.It has an automatic adjustment of the level of the axial center and automatically adjust the angle that allows the rod back and forth to run automatically adjust volume and pan angle to ensure the polished rod stuffing box with polished rod concentric, eccentric wear to avoid the phenomenon. 3.There are two options available for the stuffing box: single pack and double pack.
4.The materials used for the cap, glands, body, base, and bottom are either 1045/4130 casting steel or ductile iron, depending on customer demand. The bottom of the stuffing box features API gauged threads of tubing EUE or LP. 5.These stuffing boxes are suitable for rod sizes 1", 1-1/8", 1-1/4", 1-1/2", and 1-3/4".
Specification: 1500psi
Connecting Thread: 2-7/8” EUE, 3” LP,
3-1/2” EUE
Working Temperature: 149℃ (H2S & CO2 below 1%)
120℃ (H2S below 2% & CO2
below 10%)
Good performance at Mechanical Tear and Abrasive Resistance & in Steam
Environments
| Size | Bottom connection(BUE,EUE) | Working pressure (PSI) | Working temperature (℃) |
| 1-1/8’’ (28.58) | 2-3/8’’ , 2-7/8’’, 3-1/2’’, 3’’LP | 1500,2000,3000 | <220 |
| 1-1/4’’ (31.75) | |||
| 1-1/2’’ (38.10) | |||
| 1-3/4’’ (44.45 |

