| RTA-114BAD1A UDE | ||||||||||||||||||||||||||||||||
| Trader Part Number | RTA-114BAD1A UDE |
| ||||||||||||||||||||||||||||||
|---|---|---|---|---|---|---|---|---|---|---|---|---|---|---|---|---|---|---|---|---|---|---|---|---|---|---|---|---|---|---|---|---|
| Made in China | SM-LPJ1014AGNL | |||||||||||||||||||||||||||||||
| Manufacturer | LINK-PP China | |||||||||||||||||||||||||||||||
| Description | 10/100 Modular Jack Rj45 W/LEDs | |||||||||||||||||||||||||||||||
| Lead Free Status / RoHS Status | Lead free / RoHS Compliant | |||||||||||||||||||||||||||||||
| Quantity Available | 2,000 PCS or 4 weeks | |||||||||||||||||||||||||||||||
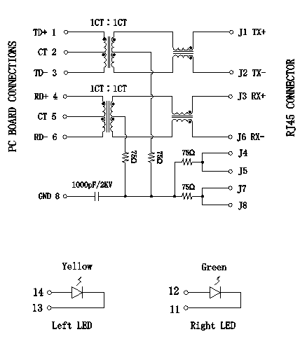
RTA-114BAD1A ELECTRICAL SPECFICATIONS @25℃TEST NOTES(25±5℃)
1.TR:(100KHz,100mV);
TX=1CT∶1CT ±3% RX=1CT∶1CT ±3%P2.LX:(100KHz,100mV,8mA,DC Bias)
PINS:(P1,P3),(P4,P6)=350uH MIN
3.HIPOT:
PINS(P1,P2,P3)TO (J1,J2)=1500Vrms
PINS(P4,P5,P6)TO (J3,J6)=1500Vrms
4.INSERTION LOSS:
-1.0dB MAX @ 1.0MHz TO 65MHz
5.RETURN LOSS:
-20dB MIN @ 1MHz TO 10MHz
-16dB MIN @ 10MHz TO 30MHz
-12dB MIN @ 30MHz TO 60MHz
-10dB MIN @ 60MHz TO 100MHz
6.CROSS TALK:
-40dB MIN @ 1MHz TO 30MHz
-35dB MIN @ 30MHz TO 60MHz
-30dB MIN @ 60MHz TO 100MHz
7.COMMON TO COMMON MODE REJECTION:
-30dB MIN @1MHz TO 50MHz
-20dB MIN @50MHz TO 150MHz
8.Operating Temperature: 0℃~70℃.
9.Partial Specifications:
