Drawworks Parts DWS70 Water-Cooling Electromagnetic Eddy Current Brake
Description of DWS70 Water-Cooling Electromagnetic Eddy Current Brake
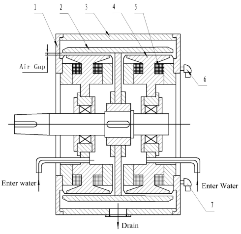
DWS70 eddy current brake is designed for use as an auxiliary brake of or offshore rig with rating drilling depth of 7000m.It can be supplied with drawworks package or supplied as a separately matching unit for a eaisting rig on oilfield .
The wind-cooling electromagnetic eddy current brake is composed of three parts, i.e., the main body of brake, silicon controlled rectifier and switch for driller.

Technical Specifications of DWS70 Water-Cooling Electromagnetic Eddy Current Brake
| Torque | 110000N.m |
| Drilling depth(with 4½″drill pipe) | 7000m |
| Principle of operation | induction eddy current braking |
| Number of coil | 4 |
| eddy current brake sistance of each coil(AT20℃) | 10.722Ω |
| Coil insulation | Class H |
| Exciting power | 23Kw |
| Exciting current(4coil parallel connections) | 80A |
| Cooling water required | 560L/min Max temperature ofoutler water |
| (at the temperature of intakewatter42℃) | 78℃ |
| Weight | 11000kg |


FAQ
1. Who are we?
Topland is an integrated supplier established in 2008. We are a global group of oilfield supplies with excellent teams in more than 5 countries. such as UAE, Kuwait, Iran and Saudi Arabia. We cooperated with ADES, ECDE, EDC, SOCAR-AQS, PDL, SAKSON, ONGC etc.
2. How can we guarantee quality?
Always a double requirements and drawing checking before the production;
Always final Inspection before shipment;
3.What can you buy from us?
Drilling rig equipment and the related spares for the oil and natural gas industries. Like Rig Components, Drawworks Spare parts and Mud Pump Spare parts, Hydraulic Disc Brake,Solids Control Equipment, Drilling and Fishing Tools,Wellhead Control Equipment,Drilling Accessories, Cementing Equipment and Tools etc.
4. Why should you choose us?
4-1. Professional & Efficient, Customer Focus, Win-win Cooperation
4-2. Fast Quote, Competitive price & within shortest lead time
4-3. Complete Range of products, like spare parts which are interchangeable with most of the well-known OEM equipment.
4-2. Order tracking service
5:How is the packing?
All the packing will meet the strict export packing requirement, we surely know how important the beautiful and firm packaging to the goods.
6: What is your terms of payment?
A: Generally by T/T, 30% advance payment, the balance 70% payment should be paid before delivery. We support EXW, FOB, FCA, CFR, CIF, CIP, DAP, DDU and DDP INCO Terms.