J29T-6T water level gauge main technical parameters nominal pressure PN0.6MPa strength test pressure 1.0 sealing test pressure 0.6 working temperature ≤ 200 ℃ working medium: water, steam

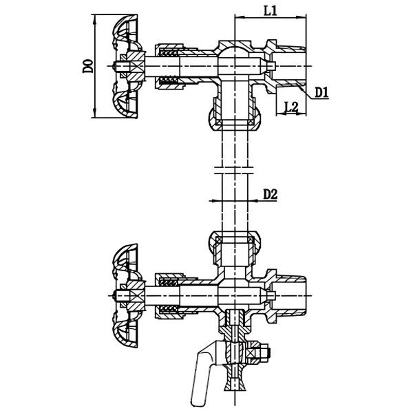
| code | size(mm) | Part name | material | ||||
| D0 | D1 | D2 | L1 | L2 | valve body | brass | |
| TL-104-15C/D | 50 | 1/2NPT | 14 | 35 | 15 | Sealing element | PTFE |
| TL-104-20C/D | 50 | 3/4NPT | 19 | 45 | 20 | handwheel | cast iron |
| Nominal pressure | 0.6Mpa | ||||||
| strength test pressure | 1.0Mpa | ||||||
| Seal test pressure | 0.6Mpa | ||||||
| operation temperature | ≤200℃ | ||||||
| Working medium | Water, steam | ||||||
Product manual
Code: TL-104-15B1 B2,B3
Name: Tea Stove Liquid Level Gauge
(1) Nominal pressure PN0.6MPa;
(2) Strength test pressure 1.0 MPa;
(3) Sealing test pressure 0.6 MPa;
(4) Working temperature ≤ 200 ℃.


This water level gauge is suitable for various small pressure vessels and liquid storage containers, displaying the liquid level. The valve body material is HPb59-1 brass (forged), the sealing surface is made of copper alloy, cast iron handwheel, high borosilicate glass tube, etc. During installation, the external thread D1 of the water level gauge valve is consistent with the internal thread on the container. Due to the threaded connection of the valve body of this product, there are three different types of threaded connections available in one specification (see attached table for details).
| Serial Number | Product code | Outer diameter of glass tube D | Connecting thread D1 | Liver protection distance | Installation size L1 | Center distance L |
| 01 | 104-15B1 | 12~12.3 | G1/2 | 21 | 28 | Customize according to user needs (determine the relevant dimensions of glass tubes, sealing rings, and protective rods) as shown in the table below |
| 02 | 104-15B2 | 12~12.3 | 1/2 NPT | 21 | 28 | |
| 03 | 104-15B3 | 12~12.3 | ZG1/2 | 21 | 28 | |
| Note: When the product code 104-15B1 leaves the factory, the upper and lower valves are equipped with one threaded D1 compression nut each. | ||||||
| Number | center distance L | code | specification | glass tube | |
| outside diameter | length | ||||
| 01 | 300 | 104-15B1 | G1/2 | 12 | 266 |
| 02 | 350 | 104-15B1 | G1/2 | 12 | 316 |
| 03 | 400 | 104-15B1 | G1/2 | 12 | 366 |
| 04 | 500 | 104-15B1 | G1/2 | 12 | 466 |
| 05 | 300 | 104-15B2 | 1/2 NPT | 12 | 266 |
| 06 | 350 | 104-15B2 | 1/2 NPT | 12 | 316 |
| 07 | 400 | 104-15B2 | 1/2 NPT | 12 | 366 |
| 08 | 500 | 104-15B2 | 1/2 NPT | 12 | 466 |
| 09 | 300 | 104-15B3 | ZG1/2 | 12 | 266 |
| 10 | 350 | 104-15B3 | ZG1/2 | 12 | 316 |
| 11 | 400 | 104-15B3 | ZG1/2 | 12 | 366 |
| 12 | 500 | 104-15B3 | ZG1/2 | 12 | 466 |
| name | Upper valve | Lower valve | Discharge valve | Glass tube | Protective rod |
| quantity | 1 | 1 | 1 | 1 | 2 |