ASME B16.9 Stainless Steel SCH40 SCH80 STD Lap Joint Stub Ends Attached the Lap Joint Flanges to the Piping Systems
Description of ASME B16.9 Stainless Steel Lap Joint Stub Ends:
The ASME B16.9 Lap Joint Stub is a type of pipe fitting used to connect pipes with lap joint flanges in industrial piping systems. It consists of a short piece of pipe with one end that has a standard wall thickness and the other end that is thinner to accommodate the flange. The thinner end of the stub end slides into the flange, while the other end is butt-welded to the pipe.
ASME B16.9 Lap Joint Stubs are commonly used in applications where frequent dismantling or maintenance is required, as they allow for easy disassembly without disturbing the alignment of the flange and piping system. They provide flexibility and convenience in piping systems that need to be adjusted or inspected regularly.
These fittings come in two main types: long pattern and short pattern, each designed to meet specific requirements based on the piping system's configuration and operating conditions. ASME B16.9 sets the standards for the dimensions, materials, and tolerances of lap joint stub ends to ensure compatibility and reliability in various industrial applications.
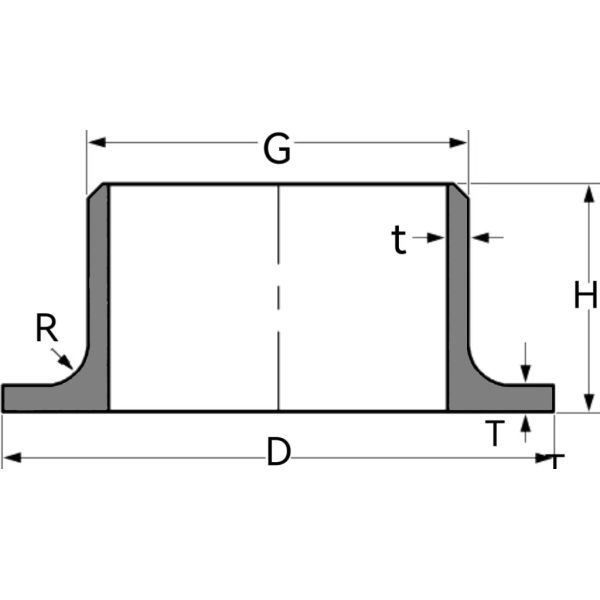
ASME B16.9 Lap Joint Stub Ends Dimensions:

| ASME B16.9 Lap Joint Stub End Dimensions | ||||||
| Nominal Size | Outside Diameter of Barrel | Long Pattern | Short Pattern | Radius of | Diameter | |
| H | H | R | D | |||
| NPS | Max | Min | mm | mm | mm | mm |
| mm | mm | |||||
| 1/2 | 22.8 | 20.5 | 76 | 51 | 3 | 35 |
| 3/4 | 28.1 | 25.9 | 76 | 51 | 3 | 43 |
| 1 | 35 | 32.6 | 102 | 51 | 3 | 51 |
| 1 1/4 | 43.6 | 41.4 | 102 | 51 | 5 | 64 |
| 1 1/2 | 49.9 | 47.5 | 102 | 51 | 6 | 73 |
| 2 | 62.4 | 59.5 | 152 | 64 | 8 | 92 |
| 2 1/2 | 75.3 | 72.2 | 152 | 64 | 8 | 105 |
| 3 | 91.3 | 88.1 | 152 | 64 | 10 | 127 |
| 3 1/2 | 104 | 100.8 | 152 | 76 | 10 | 140 |
| 4 | 116.7 | 113.5 | 152 | 76 | 11 | 157 |
| 5 | 144.3 | 140.5 | 203 | 76 | 11 | 186 |
| 6 | 171.3 | 167.5 | 203 | 89 | 13 | 216 |
| 8 | 222.1 | 218.3 | 203 | 102 | 13 | 270 |
| 10 | 277.2 | 272.3 | 254 | 127 | 13 | 324 |
| 12 | 328 | 323.1 | 254 | 152 | 13 | 381 |
| 14 | 359.9 | 354.8 | 305 | 152 | 13 | 413 |
| 16 | 411 | 405.6 | 305 | 152 | 13 | 470 |
| 18 | 462 | 456 | 305 | 152 | 13 | 533 |
| 20 | 514 | 507 | 305 | 152 | 13 | 584 |
| 22 | 565 | 558 | 305 | 152 | 13 | 641 |
| 24 | 616 | 609 | 305 | 152 | 13 | 692 |
Notes:
Gasket Face Finish: The gasket face finish for raised face flanges should adhere to the standards outlined in ASME B16.5. This ensures compatibility and proper sealing between mating flange surfaces.
Lap Thickness: The lap thickness, denoted as "T," must not be less than the nominal pipe wall thickness. This ensures adequate material overlap for secure welding and joint integrity.
Stub End Length: Depending on the flange class and size, adjustments to the length of short or long pattern stub ends may be necessary to prevent the weld from being covered by the flange. This ensures proper alignment and welding accessibility.
Special Facings: When employing special facings such as tongue and groove, male and female, etc., additional lap thickness should be provided, beyond the basic length "F," to accommodate these special facing requirements.
Fillet Radius and Lap Diameter: The dimensions of the "Radius of Fillet, R" and "Diameter of Lap, G" should conform to the standard dimensions established for lap joint flanges in ASME B16.5. This ensures consistency and compatibility with industry standards for lap joint connections.
Types of Lap Joint Stub Ends:
Type A Stub End:
Type B Stub End:
Type C Stub End:
Common Types and Lengths:
Usages of ASME B16.9 Lap Joint Stub Ends:
Facilitating Flange Connections: Lap Joint Stub Ends are often used to facilitate flange connections in piping systems. They allow for easy alignment and assembly of flanges, especially in systems where frequent dismantling or maintenance is required.
Adjusting Pipe Length: Lap Joint Stub Ends are used to adjust the overall pipe length in a system without necessarily altering the pipeline itself. They help in making connections to various components such as valves, pumps, and other equipment.
Avoiding Welding Directly to Flanges: By using lap joint stub ends, welding is done between the stub end and the pipe, rather than directly to the flange. This can simplify installation, maintenance, and repairs by allowing for easy disassembly of the flange joint without cutting or re-welding.
Creating Non-Permanent Joints: In situations where temporary or non-permanent joints are needed, lap joint stub ends offer a convenient solution. They provide a way to connect pipes without the need for fully welded joints, allowing for easier disassembly when required.
Allowing Rotation in Flanged Connections: The use of lap joint stub ends permits rotation of the lap joint flange on the stub end, which can be beneficial for alignment purposes or when adjustments in orientation are needed.
Compatibility with Different Flange Types: Lap Joint Stub Ends are designed to work with lap joint flanges, as well as slip-on, socket weld, and threaded flanges, providing versatility in piping system configurations.