| Part No: MZ4P5S2030-352SV270 | PTCTHERMISTOR3500Ω±50% | Rev: 0/A ( Mar. 16, 24) Page 1 of 3 | ||||||||||||
| 1. PART NO&NUMBERING | ||||||||||||||
|
MZ4P5S2030-352SV270
① ② ③ ④ ⑤
① SeriesMZ4: PTC thermistor for constant temperature heating ② Curie Temperature : P5―50℃ X2―120℃ Y1――210℃ ③ Disc Size : Φ20×3.0 ④ Rated Zero Power Resistance:352S –3500Ω±50% ⑤ Maximum voltage : V270 – 270V
| ||||||||||||||
| 2. APPEARANCE AND DIMENSIONS | ||||||||||||||
| 2-1. Dimensions:
| D | 19.5±0.5mm | ||||||||||||
| T | 3.0±0.2 mm | |||||||||||||
| h | 0.5-1.5 mm | |||||||||||||
| 2-2. Marking: | ||||||||||||||
| Part No. | Marking | |||||||||||||
| MZ4P5S2030-352SV270 | No | |||||||||||||
| Part No: MZ4P5S2030-352SV270 | PTCTHERMISTOR3500Ω±50% | Rev: 0/A ( Mar. 16, 24) Page 2 of 3 | ||
| 3. ELECTRICAL CHARACTERISTICS | ||||
| No. | Item
| Spec.
| Test conditions and methods | |
| 3-1 | Rated Zero Power Resistance
(RN) | 3500Ω±50% | TA:25±1℃ Testing voltage:DC 2.0 Vmax After placing for 1~2 hours under TA, the resistance value shall be measured.
| |
| 3-2 | Max. Operating Voltage
(Vmax) | 270Vrms | TA:-10~+85℃ | |
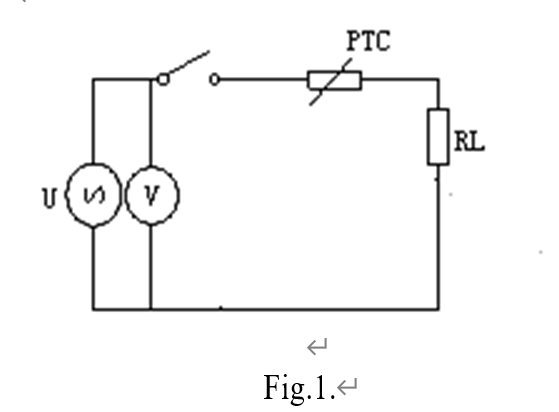
| 3-3 | Surface temperature (TS) | 70±7℃ | TA:25±2℃ Testing voltag:220Vrms, 50~60Hz In Series ResistanceRL: 0Ω In static air. Testing time:10min
Fig.1.
| |
| 3-4 | Voltage Withstanding (V) | No damage. The resistance change ratio within ±30%
| TA:25±2℃ Testing voltage : 270V/1min, RL:25Ω Test Circuit:See Fig. 2. :
Fig. 2
| |
| Part No: MZ4P5S2030-352SV270 | PTCTHERMISTOR3500Ω±50% | Rev: 0/A ( Mar. 16, 24) Page 3 of 3 | |
| 4. R-T CURVE | |||
| Part No: MZ4P5S2030-352SV270
| |||
| 5. Packing: | |||
| 5-1 | On package should indicate the following content: the use of Chinese characters
1,The factory name or registered trademark;
2,The product name and model;
3,The box, PTC quantity;
| ||
| 5-2 | Packing has moistureproof and isolation. Packing cases with our company should product certificate.
| ||
Revision History
Metallization PTC Type Thermistors For Motor Starting RoHS-Compatible
Features
◆ Metallization: Ni (nickel-plate) + Ag(screen-printed)
◆ Suitable for clamp contacting
◆ High withstand voltage and inrush current
◆ Various pellet sizes and curie temperature for optimum inrush current and switching time
◆ UL approval to UL 1434 (file number E199092)
◆ VDE approval (file number 40021522)
◆ CQC approval (file number 040011009290)
◆ RoHS-compatible
Electrical Specifications
| Order Number | Resistance At25℃ | Maximum Voltage | Maximum Current | Breakdown Voltage | Curie Temp. | Size (Φxt) |
| R25(Ω) | Vmax(V) | Imax(A) | VBD(V) | Tc(°C) | (mm) | |
| MZ4-3R3□X3S1625 | 3.3 | 160 | 12 | 320 | 135 | 16x2.5 |
| MZ4-3R9□X3S1625 | 3.9 | 180 | 12 | 360 | ||
| MZ4-4R7□X3S1625 | 4.7 | 180 | 12 | 420 | ||
| MZ4-5R0□X0S1625 | 5 | 200 | 12 | 480 | 105 | |
| MZ4-5R5□X2S1625 | 5.5 | 200 | 12 | 450 | 120 | |
| MZ4-6R8□X0S1625 | 6.8 | 200 | 10 | 480 | 105 | |
| MZ4-6R8□X3S1625 | 6.8 | 200 | 10 | 450 | 135 | |
| MZ4-10R□X0S1625 | 10 | 200 | 10 | 500 | 105 | |
| MZ4-10R□X3S1625 | 10 | 200 | 8 | 500 | 135 | |
| MZ4-15R□X3S1625 | 15 | 350 | 8 | 700 | 135 | |
| MZ4-22R□X3S1625 | 22 | 350 | 8 | 700 | ||
| MZ4-33R□X3S1625 | 33 | 355 | 6 | 720 | ||
| MZ4-47R□X3S1625 | 47 | 400 | 5 | 720 | ||
| MZ4-68R□X3S1625 | 68 | 450 | 4 | 800 | ||
| MZ4-5R0□X2S1725 | 5 | 200 | 12 | 450 | 120 | 17.5x2.5 |
| MZ4-6R8□X2S1725 | 6.8 | 200 | 10 | 500 | ||
| MZ4-10R□X2S1725 | 10 | 200 | 10 | 550 | ||
| MZ4-20R□X2S1725 | 20 | 320 | 8 | 650 | ||
| MZ4-3R3□X2S2025 | 3.3 | 160 | 12 | 350 | 135 or 120 | 20x2.5 |
| MZ4-3R9□X2S2025 | 3.9 | 180 | 12 | 400 | ||
| MZ4-4R7□X3S2025 | 4.7 | 180 | 12 | 420 | ||
| MZ4-5R6□X3S2025 | 5.6 | 180 | 12 | 450 | ||
| MZ4-6R8□X3S2025 | 6.8 | 200 | 10 | 500 | ||
| MZ4-10R□X3S2025 | 10 | 230 | 9 | 550 | ||
| MZ4-12R□X3S2025 | 12 | 250 | 8.5 | 600 | ||
| MZ4-15R□X3S2025 | 15 | 350 | 8 | 700 | ||
| MZ4-22R□X3S2025 | 22 | 350 | 8 | 720 | ||
| MZ4-33R□X3S2025 | 33 | 355 | 6 | 750 | ||
| MZ4-47R□X3S2025 | 47 | 400 | 5 | 800 | ||
| MZ4-68R□X3S2025 | 68 | 450 | 5 | 860 | ||
| MZ4-3R9□X2S2032 | 3.9 | 180 | 16 | 350 | 120 | 20x3.2 |
| MZ4-12R□X2S2032 | 12 | 350 | 8 | 700 | ||
| MZ4-15R□X2S2032 | 15 | 350 | 8 | 750 | ||
| MZ4-30R□X2S2032 | 30 | 450 | 7 | 800 | ||
| MZ4-33R□X2S2032 | 33 | 385 | 8 | 750 | ||
| MZ4-40R□X2S2032 | 40 | 450 | 8 | 800 | ||
| MZ4-25R□X2S2050 | 25 | 400 | 9 | 800 | 120 | 20x5.0 |
| MZ4-38R□X2S2050 | 38 | 400 | 9 | 800 | ||
| MZ4-50R□X2S2050 | 50 | 410 | 8 | 800 | ||
| MZ4-75R□X2S2050 | 75 | 410 | 6 | 800 |
Notes:
1. is the resistance tolerance M:±20% X:±25% N:±30% S: Special
2.Other dimensions and ratings on request

