Globe valve Y Type Screwed End
GLOBE VALVE Y TYPE SCREWED END
Specifications:
- The thread ends conform to
ASME B1.20.1(NPT)
DIN 2999 & BS 21
ISO 228/1 & ISO 7/1 - Investment casting
- Rising stem
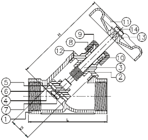
| Applicable Standard | | Test and Inspection | API 598 | | ITEM | PARTS | MATERIAL | | 1 | BODY | ASTM A351-CF8M 1.4408 | | 2 | BONNET | | 3 | STEM | AISI 316 | | 4 | DISC | AISI 316 | | 5 | SEAT | PTFE | | 6 | WASHER | AISI 304 | | 7 | NUT | AISI 304 | | 8 | STEM PACKING | PTFE | | 9 | GLAND | AISI 304 | | 10 | PACKING NUT | AISI 304 | | 11 | HANDWHEEL | MICO STEEL | | 12 | JOINT GASKET | PTFE | | 13 | WASHER | AISI 304 | | 14 | NUT | AISI 304 | |

Select us :
- Design team: With professional design staff, Sample order is always welcomed
- Professional factory: Specializing in manufacturing valves for many years, competitive price with good quality, the deadline usually is 30-45 days
- Sample: We can offer sample in 3 days, but the shipment charge is usually beared by customerside, the fee will be deducted from agreed offical order.
- Quick response to your needs: We will answer within 24 hours, Welcome to contact with us if you have any problems, We are looking forward to cooperating with you.