Single-Phrase MV Current Transformer Inflatable Cabinet Usage
1. Product Introduction:
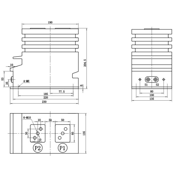
LFZZJ-12 current transformer, epoxy resin casting insulation and fully enclosed support construction, encloses primary & secondary windings and annular core in the epoxy resin casting body. The product has large external insulation creep distance, withstands nastiness and dampness. It is widely used for measuring current, electric energy and protective relaying in the electrical system with the rated frequency 50Hz or 60Hz and highest voltage for equipment 12kV
2. Technical Data:
Usage terms
1. Ambient temperature: -5-40℃
2. Height above sea level : within 1000m
3. Installation site: indoor
Main technical parameter
1. Rated insulation voltage: 12/28/75kV etc.
2. Rated frequency: 50/60hz
3. Installation Site: Indoor
4. Standards: IEC60044-1(IEC61869-1&2)
| Rated current ratio(A) | Accuracy classes combination | Rated output (VA) | FS | ALF | Rated short-time thermal current (kA/S) | Rated dynamic current ( kA) | ||
| Measuring | Protective | |||||||
| 0.2S | 0.2 | 10P | ||||||
| 10/5 | 0.2S 0.2 10P | 10 | 10 | 15 | 10 | 10 | 1.6/2S | 4 |
| 15/5 | 2.4/2S | 6 | ||||||
| 20/5 | 3.2/2S | 8 | ||||||
| 25/5 | 4.0/2S | 10 | ||||||
| 30/5 | 4.8/2S | 12 | ||||||
| 40/5 | 6.4/2S | 16 | ||||||
| 50/5 | 8.0/2S | 20 | ||||||
| 75/5 | 12.0/2S | 30 | ||||||
| 100/5 | 16.0/2S | 40 | ||||||
| 150/5 | 24.0/2S | 60 | ||||||
| 200/5 | 24.0/2S | 60 | ||||||
| 300/5 | 31.5/2S | 80 | ||||||
| 400/5 | 31.5/2S | 80 | ||||||
| 600/5 | 31.5/2S | 80 | ||||||


