The full name of the neck flat welding flange is the neck flat welding steel pipe flange, which extends the steel pipe, pipe fittings, etc. Into the flange and connects with the equipment or pipeline through the fillet weld. The main differences between the butt welding flange and the flat welding flange are different weld forms, different materials, different nominal pressures and different connection methods.
Different weld forms: the flat weld cannot be radiographed, while the butt weld can. The form of welding seam between the pipe with neck flat welding flange and the flange is fillet weld, while the form of welding seam between the flange with neck flat welding and the pipe is circumferential weld. The form of flat welding is two fillet weld, and the form of butt welding is one butt circumferential weld.

1. The difference between the neck flat welding flange and the neck free flat welding flange is that the neck flat welding flange is more than the neck free flat welding flange in the pipeline welding position.
2. The neck free flat welding flange is also a flat flange, and the boss without flange is also a flat fillet weld.
3. The weld joint between the neck butt welding flange and the connecting pipe belongs to class B seam, and the weld joint between the neck flat welding flange and the connecting pipe belongs to class C seam. The NDT after welding is different.
4. Different materials: the material of welding flange with neck is machined from ordinary steel plate with thickness meeting the requirements, while the material of welding flange with neck is mostly machined from forged steel parts.
5. Different nominal pressure: the nominal pressure of flat welding flange with neck is 0.6-4.0mpa, while the nominal pressure of flat welding flange with neck is 1-25mpa. Obviously, the applicable pressure level of flat welding flange with neck is lower.

1. Different connection methods: the biggest difference between the neck flat welding flange and the neck butt welding flange in structure lies in the connection method between the nozzle and the flange.
2. Generally, the neck flat welding flange is the fillet connection between the nozzle and the flange, while the neck butt welding flange is the butt joint between the flange and the nozzle.
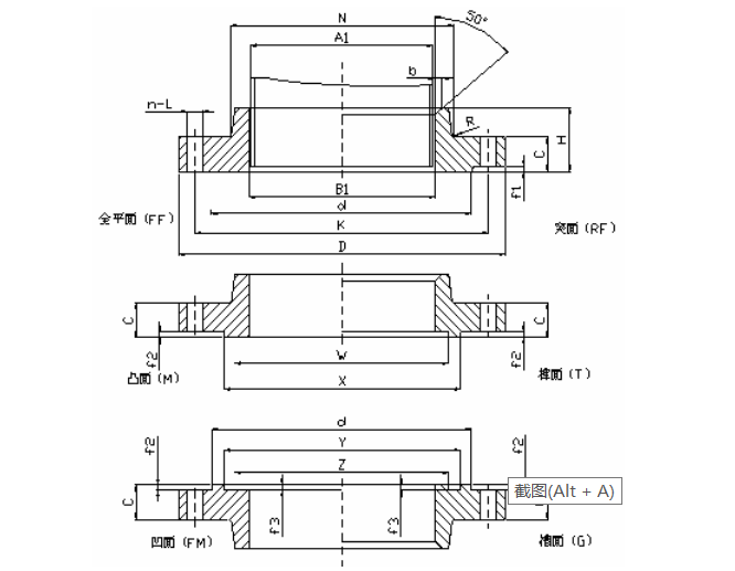
3. The sealing surface forms of welding flange with neck are: RF, FM, m, t, G and FF. Diameter range of flat welding flange with neck: dn10 ~ DN600.
4 Scope of application: PN series pn2.5 ~ PN40; class series class150 ~ class1500.
5. Flange material: carbon steel, Luomo steel, 304, 316, 304L, 316L, 321, 347, cf8c.
| Application scope of flange sealing surface | |||||
| Sealing surface form | Nominal pressure (MPA) | ||||
| 0.6 | 1.0 | 1.6 | 2.5 | 4 | |
| Bursting surface (RF) | DX10—300 | DN10—600 | |||
| Bump face (MFM) | DN10—600 | ||||
| Vertebral groove surface (TG) | — | DN10—600 | |||
| Full plane (FF) | DX10—300 | DN10—600 | — | ||
1, Advantages: the neck flat welding flange also belongs to the flat welding flange, because it has a short neck, thus improving the strength of the flange and improving the bearing strength of the flange. So it can be used on pipes with higher pressure.
2, Disadvantages: compared with plate type flat welding flange, the cost is higher, because of its shape characteristics, it is easier to bump during transportation.

1, The welding flange with neck is used for corrosion-resistant, highly toxic, flammable and explosive occasions.
2, The sealing surface of flat welding flange with neck can be convex, concave and mortise face.
3, The sealing effect is not the same, and the bearing strength is not the same.
4, There is a short neck behind the tail of flat welding flange with neck, which can improve the rigidity of flange.
5, The bearing capacity is higher than that of flat welding flange, which is generally used in medium and high pressure occasions.
a. Plastic bubble bag package b.Wove bag package c.Pallet d. Customized
Our Seam Fillet Flat Neck Welding Stainless Steel Flanges factory have high ability for production, the delivery time is 45days for small quantity, or if you are hurry for that, we can arrange and meet your shipping date.