Globe Stop Valve in Marine Cast Steel 5K in JIS F7311 for Steam with Flange
PRODUCT INTRODUCTION
Description of Globe Stop Valve
A globe valve, different from ball valve, is a type of valve used for regulating flow in a pipeline, consisting of a movable disk-type element and a stationary ring seat in a generally spherical body.
Globe valves are named for their spherical body shape with the two halves of the body being separated by an internal baffle. This has an opening that forms a seat onto which a movable plug can be screwed in to close (or shut) the valve. The plug is also called a disc or disk.In globe valves, the plug is connected to a stem which is operated by screw action using a handwheel in manual valves. Typically, automated globe valves use smooth stems rather than threaded and are opened and closed by an actuator assembly.
Marine Globe Valve Design Features
Design standard: JIS F7311
Body material: FC 200.
Nominal diameter: DN50.
Pressure: 5K,10K.
End connection: Flanged FF.
Mode of operation: Handwheel.
Pressure & Temperature
Non-shock water: 7 Bar @ 120oC
Air, Gas, Steam, Pulsating Water: 5 Bar @ 205oC
Specification
| Product Code | F7311 |
|---|---|
| Type | JIS Globe Straight GGG.40 - 5K |
| Material Codes | GGG40 |
| Design | JIS F7311 |
| Flange and Their Joints | JIS B2220-5K |
| Face to Face Dimensions | - |
| Tests | JIS F7400 |
| Working Temprature | - |
| Pressure | 5K; Body: 10,5 kg/cm2 - Seat: 7,7 kg/cm2 |
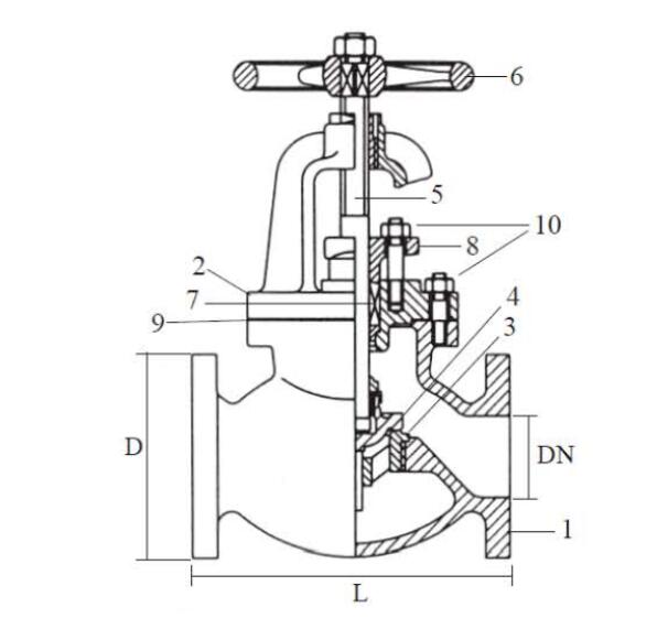
Globe Stop Valve Drawing and Datasheet

| Product Code | Impa Code | DN | L | D | nxd | Hcd |
|---|---|---|---|---|---|---|
| F7311 | - | 50 | 210 | 130 | 4x15 | 105 |
| F7311 | - | 65 | 250 | 155 | 4x15 | 130 |
| F7311 | - | 80 | 280 | 180 | 4x19 | 145 |
| F7311 | - | 100 | 340 | 200 | 8x19 | 165 |
| F7311 | - | 125 | 410 | 235 | 8x19 | 200 |
| F7311 | - | 150 | 480 | 265 | 8x19 | 230 |
| F7311 | - | 200 | 570 | 320 | 8x23 | 280 |
| F7311 | - | 250 | 740 | 385 | 12x23 | 345 |
| F7311 | - | 300 | 840 | 430 | 12x23 | 390 |
| F7311 | - | 350 | 940 | 480 | 12x25 | 435 |
You will get an effective response within 24 hours from TongJiang Team.
COMPANY PROFILE (Video)
floa
1. Our Factory
30 years experience of valve and pipeline industry.
10 senior technical engineers
20000 m2 production area
More than 100 employees to provide professional service.
As the reliable OEM for famous valve brand companies.
t ball valve
2. Factory Show
TongJiang Valve Technology Company was established for 30 years. There are more than 100 employees which includes 10 professional engineers.

OUR SERVICE ball valve
Reliable Quality, Competitive Price
Reply your inquiry in 2 hours with professional service.
Miss Angela
Mobile: +86 13588429004(Whatsapp)
Skype: angelazhuo1
E-mail: angela@tjfmcn.com
Tel No: +86 571 86991717
Official Website: www.zjtjvalve.com