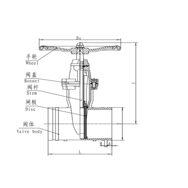
The opening and closing part of the fire signal soft seal gate valve is the gate. The movement direction of the gate is perpendicular to the fluid direction. The gate valve can only be fully opened and closed, not adjusted and throttled. It can be used to control the flow of various types of fluids such as air, water, steam, various corrosive media, mud, oil products, liquid metal and radioactive media. In addition to the advantages of elastic seat seal gate valve, the fire signal soft seal gate valve can visually display the opening degree of the valve, so as to judge the opening degree of the valve at a distance and take corresponding measures in time. The opening and closing is fast and reliable, so it is often used in fire protection system. The ram has two sealing surfaces. In the common mode, the two sealing surfaces of the ram valve form a wedge, and the wedge angle varies with the valve parameters, usually 50. When the medium temperature is not high, it is 2 ° 52 '. The gate of wedge gate valve can be made into a whole, which is called rigid gate valve; It can also be made into a ram that can produce slight deformation to make up for the deviation of the angle of the sealing surface in the processing process. This kind of ram is called elastic ram. Fire signal soft seal gate valve is generally installed horizontally.
Integral rubber coating: the ram is internally and externally coated with high-quality rubber. The European rubber vulcanization technology enables the vulcanized ram to ensure the geometric size, and the rubber and ductile iron casting RAM are firmly connected, not easy to fall off and have good elastic memory.
Precision casting valve body: the valve body is cast, and the geometric size makes it possible to ensure the tightness of the valve without any finishing inside the valve body.
| Size | L | D | D1 | D2 | B | F | Zxфd |
| 50 | 178 ±1.5 | 165 | 125 | 99 | 19 | 3 | 4xф19 |
| 65 | 190 ±2 | 185 | 145 | 118 | 19 | 3 | 4xф19 |
| 80 | 203 ±2 | 200 | 160 | 132 | 19 | 3 | 8xф19 |
| 100 | 229 ±2 | 220 | 180 | 156 | 21 | 3 | 8xф19 |
| 125 | 254±2 | 250 | 210 | 184 | 22 | 3 | 8xф19 |
| 150 | 267 ±2 | 285 | 240 | 211 | 22 | 3 | 8xф23 |
| 200 | 292 ±2 | 340 | 295 | 266 | 23 | 3 | 12xф23 |
| 250 | 330 ±3 | 405 | 350/355 | 319 | 26 | 3 | 12Xф28 |
| 300 | 356±3 | 460 | 400/410 | 370 | 28.5 | 4 | 12Xф28 |


