4V4852 PISTON Caterpillar parts 518, 528, 528B, 530B, 613C, 613C II, 613G, 65, 65E, 725, 725C, 730, 730C, 75E, 769C, 773B, 776C, 777, 777B, 85E, 916, 920, 926, 930, 936, 950, 950B, 950B/950E, 95E, D250D, D250E, D250E II, D300B, D300... PISTON
Product Description
CA4V4852
4V-4852
4V4852
ARTICULATED TRUCK 725 725C 730 730C D250D D250E D250E II D300B D300D D300E D300E II D350E D400E
CHALLENGER 65 65E 75E 85E 95E
EJECTOR TRUCK 730 730C
INTEGRATED TOOLCARRIER IT28
TOWED SCRAPER TS180 TS185 TS220 TS225
TRACTOR 776C
TRUCK 769C 773B 777 777B
WAGON 613C II
WHEEL LOADER 916 920 926 930 936 950 950B 950B/950E G936
WHEEL SCRAPER 613C 613C II
WHEEL SKIDDER 518 528 528B 530B
WHEEL TRACTOR 613C 613C II
WHEEL TRACTOR-SCRAPER 613G Caterpillar
777C Truck 776C Tractor 2TK00001-UP (MACHINE) POWERED BY 3508 Engine
8W-7376 BRAKE GP-HYD CALIPER SERVICE
S/N 4XJ1-UP; 2TK1-UP
PART OF 5T-1950 BRAKE GP-SERVICE
Information
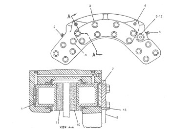
| Pos. | Part No | Qty | Parts name | Comments |
|---|---|---|---|---|
| 1. | 4V-4852 | [6] | PISTON | |
| 2. | 5T-2896 | [2] | BOLT-CUP POINT | |
| 3. | 8S-4733 | [8] | BOLT (9/16-12X1.5-IN) | |
| 5P-8246 | [8] | WASHER-HARD (15.5X29X3-MM THK) | ||
| 4. | 7K-4942 | [1] | SCREW-PURGE | |
| 5. | 5T-7964 | [2] | PIN | |
| 6. | 3V-0197 | [2] | BOLT (3/8-16X1-IN) | |
| 7. | 6W-7379 | [3] | PLUG | |
| 8. | 5T-2895 | [2] | PIN | |
| 9. | 145-4948 | [1] | COVER | |
| 10. | 9C-0567 | [1] | LINING AS-BRAKE | |
| 11. | 9C-0566 | [1] | LINING AS-BRAKE | |
| 12. | 8F-0212 | [4] | SEAL-O-RING | |
| 13. | 133-6104 | [3] | SEAL | |
| AVAILABLE REPAIR KIT(S): | ||||
| 8W-4158 | [1] | KIT-SEAL | ||
| (INCLS BOOTS, PACKINGS, & PACKING AS) | ||||
| 5T-2927 | [1] | KIT-HYDRAULIC SEAL | ||
OEM
| 1W6757 Piston | Engine | 1W-6757 | Ring | 1010016 Body As Piston | Cylinder Liner | 101-0016 |
| 1W8922 Ring G | Engine | 1W-8922 | Ring | 1077563 Body As Piston | Cylinder Liner | 107-7563 |
| 2382716 Skirt | Engine | 238-2716 | Ring | 1078366 D4C Piston Std | Cylinder Liner | 107-8366 |
| 2G5369 Piston | Engine | 2G-5369 | Ring | 1127020 Ring Set 3054 | Cylinder Liner | 112-7020 |
| 2M3339 Piston | Engine | 2M-3339 | Ring | 1205727 Piston Control | Cylinder Liner | 120-5727 |
| 2P1604 Piston | Engine | 2P-1604 | Ring | 1548087 Body As Piston | Cylinder Liner | 154-8087 |
| 2P4510 Piston | Engine | 2P-4510 | Ring | 1601131 Body As Piston | Cylinder Liner | 160-1131 |
| 2W1709 Ring G | Engine | 2W-1709 | Ring | 1723280 Body As Piston | Cylinder Liner | 172-3280 |
| 2W4831 Piston | Engine | 2W-4831 | Ring | 1746102 Body As Piston | Cylinder Liner | 174-6102 |
| 2W6091 Ring G | Engine | 2W-6091 | Ring | 1922208 Body As Piston | Cylinder Liner | 192-2208 |
| 2W8410 Piston | Engine | 2W-8410 | Ring | 1970554 Kit Piston Std | Cylinder Liner | 197-0554 |
| 2W8411 Piston | Engine | 2W-8411 | Ring | 1973765 Body As Piston | Cylinder Liner | 197-3765 |
| 2W8412 Body A | Engine | 2W-8412 | Ring | 1W9372 Piston Body Les | Cylinder Liner | 1W-9372 |
| 2W8646 Ring G | Engine | 2W-8646 | Ring | 2244432 Piston St Pump | Cylinder Liner | 224-4432 |
| 2W8647 Ring G | Engine | 2W-8647 | Ring | 3S4061 Ring Grp Piston | Cylinder Liner | 3S-4061 |
| 3247380 Skirt | Engine | 324-7380 | Ring | 4P5852 Crown As Piston | Cylinder Liner | 4P-5852 |
| 3G6538 Piston | Engine | 3G-6538 | Ring | 4P6914 Ring Set Piston | Cylinder Liner | 4P-6914 |
| 3J9325 Piston | Engine | 3J-9325 | Ring | 4S7424 Ring Grp Piston | Cylinder Liner | 4S-7424 |
| 3P4695 Piston | Engine | 3P-4695 | Ring | 4T3122 Piston Assembly | Cylinder Liner | 4T-3122 |
| 3S0988 Piston | Engine | 3S-0988 | Ring | 6I1210 Crown As Piston | Cylinder Liner | 6I-1210 |
| 3V5476 Piston | Engine | 3V-5476 | Ring | 6I4248 Crown As Piston | Cylinder Liner | 6I-4248 |
| 3W0640 Piston | Engine | 3W-0640 | Ring | 6N2109 Kit Piston Ring | Cylinder Liner | 6N-2109 |
| 4E2168 Piston | Engine | 4E-2168 | Ring | 7C0570 Kit Piston Ring | Cylinder Liner | 7C-0570 |
| 4S5943 Piston | Engine | 4S-5943 | Ring | 7C2888 Crown As Piston | Cylinder Liner | 7C-2888 |
| 4T7010 Piston | Engine | 4T-7010 | Ring | 7C4943 Kit Piston Ring | Cylinder Liner | 7C-4943 |
| 4T7354 Piston | Engine | 4T-7354 | Ring | 7M5564 Ring Grp Piston | Cylinder Liner | 7M-5564 |
| 4V4852 Piston | Engine | 4V-4852 | Ring | 7N3511 Piston Body 5.4 | Cylinder Liner | 7N-3511 |
| 4V7725 Piston | Engine | 4V-7725 | Ring | 8K8469 Piston Assembly | Cylinder Liner | 8K-8469 |
| 5I7792 Piston | Engine | 5I-7792 | Ring | 9H1226 Ring Set Piston | Cylinder Liner | 9H-1226 |
