1W5796 PISTON BODY Caterpillar parts 953, D3 PISTON
Product Description
CA1W5796
1W-5796
1W5796
TRACK LOADER 953
TRACK-TYPE TRACTOR D3 Caterpillar
D3 TRACTOR 79U04709-UP (MACHINE) POWERED BY 3204 ENGINE
8N4079 CONNECTING ROD AND PISTON GROUP-4 Required
Engine Serial No. 45V17166-Up
Part of 1W549 Cylinder Block Group listed on Page 6C
Information
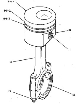
| Pos. | Part No | Qty | Parts name | Comments |
|---|---|---|---|---|
| 1. | 8N-5537 | [1] | PISTON GROUP | |
| (INCLUDES) | ||||
| 2. | 9L-6233 | [1] | RING-PISTON (COMPRESSION) | |
| 3. | 9L-9316 | [1] | RING-PISTON | |
| 4. | 1W-5794 CA | [1] | PISTON-BODY (0.510-MM OS) | |
| 5. | 9N-0581 CA | [1] | RING (OVERSIZE-COMPRESSION) | |
| 6. | 9L-9673 CA | [1] | RING (OVERSIZE-OIL) | |
| 7. | 1W-5796 CA | [1] | PISTON BODY (1.02-MM OS) | |
| 8. | 9N-0578 CA | [1] | RING (OVERSIZE-COMPRESSION) | |
| 9. | 9L-9323 CA | [1] | RING (OVERSIZE-OIL) | |
| 10. | 7N-9803 | [1] | PIN | |
| 11. | 8N-7294 C | [2] | RETAINER | |
| 12. | 8N-6308 | [1] | BEARING-CONNECTING ROD (STANDARD) | |
| 1N-3821 CA | [1] | BEARING-CONNECTING ROD (0.254-MM US) | ||
| 1N-3822 CA | [1] | BEARING-CONNECTING ROD (0.510-MM US) | ||
| 1W-3906 CA | [1] | BEARING-CONNECTING ROD (1.27-MM US) | ||
| 13. | 8N-3753 | [1] | ROD AS | |
| (INCLUDES) | ||||
| 9N-5082 | [1] | BEARING-CONNECTING ROD | ||
| 14. | 9N-3832 | [2] | BOLT | |
| 9L-7669 | [2] | NUT (7/16-20-THD) | ||
OME
| 1445287 Seal | Engine | 144-5287 | Ring | 5I7791 Piston Ring Set (0.50Mm Us) | Cylinder Liner | 5I-7791 | 5I-7791 Ring 5I7791 Piston Ring Set (0.50Mm Us) Engine 144-5287 Cylinder Liner 1445287 Seal |
| 1445902 Ring | Engine | 144-5902 | Ring | 3S4029 Piston Ring Replacement Grp. | Cylinder Liner | 3S-4029 | 3S4029 Piston Ring Replacement Grp. Cylinder Liner 144-5902 Engine 3S-4029 Ring 1445902 Ring |
| 1613425 Ring | Engine | 161-3425 | Ring | 7N9806 Pin Connecting Rod To Piston | Cylinder Liner | 7N-9806 | 1613425 Ring Engine 161-3425 Ring 7N9806 Pin Connecting Rod To Piston Cylinder Liner 7N-9806 |
| 1899771 Ring | Engine | 189-9771 | Ring | 7N9807 Pin Connecting Rod To Piston | Cylinder Liner | 7N-9807 | 189-9771 Engine 7N9807 Pin Connecting Rod To Piston Cylinder Liner 1899771 Ring Ring 7N-9807 |
| 2623066 Ring | Engine | 262-3066 | Ring | 7N9810 Pin Connecting Rod To Piston | Cylinder Liner | 7N-9810 | 7N-9810 Ring 7N9810 Pin Connecting Rod To Piston Engine 262-3066 Cylinder Liner 2623066 Ring |
