Stainless Steel Food Grade GT Pneumatic Vibrator , High Frequency Vibrator
GT-40 pneumatic Gear vibrator with body material aluminum alloy or stainless steel, inlet and exhuasting port size 3/8”G or NPT,working frequency 9500cycles/Minute at 6Bar,centrifugal force 9800N at 6Bar with low noise60-75Dba and high temperature-resistance
Quick Detail:
* GT-40 Pneumatic turbine vibrator
* Body material Extruded Aluminium Alloy
* Body material stainless steel available
* Inlet and exhuasting port size 3/8”G,NPT
* Working frequence and centrifugal force can be adjustable by air pressure
* Working frequence up to 9500cycles/Minute at 6 Bar
* Strong Centrifugal force up to 9800N at 6Bar
* Low noise 60~75Dba
* High temperature-resistance up to 120℃
* Immediately start,stop,fast response
* Easy to operate,safety application
* Easy to change bearing parts
* Lubrication free
Applications:
GT-40 Pneumatic turbine vibrator used widely in feed material conveyor,vibration screening,vibrating hopper,packaging filling,foundry sand mold vibration etc
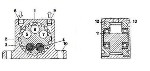
Specifications:

1, Extruded Aluminium Alloy Body
2, Hard Coated Aluminium Turbine Wheel
3-4, High Density Mass Positive Movement
5-7, Cavities Giving Negative Movement
8,Air Inlet Port
9,Air Exhausting port
10,Base Mounting Holes
11,Special Pre-Lubricated Matching Sealed Bearings
Hard Coated Aluminium Endplates
12,With Left direction Thread
13,With Right direction Thread
| Model | Frequency V.P.M | Centrifugal force | Air consumption L/ Minute | ||||||
| 2 Bar | 4 Bar | 6 Bar | 2 Bar | 4 Bar | 6 Bar | 2 Bar | 4 Bar | 6 Bar | |
| 29 PSI | 58 PSI | 87 PSI | N | N | N | Ltr. | Ltr. | Ltr. | |
| GT-8 | 36000 | 42000 | 46000 | 990 | 2060 | 2910 | 48 | 75 | 152 |
| GT-10 | 27500 | 35000 | 37500 | 840 | 1390 | 2400 | |||
| GT13 | 26000 | 30000 | 33000 | 1400 | 2440 | 3730 | 125 | 210 | 280 |
| GT-16 | 17000 | 21500 | 24000 | 1220 | 2090 | 3160 | |||
| GT20 | 17000 | 20000 | 23000 | 2170 | 4040 | 5520 | 188 | 315 | 465 |
| GT-25 | 12000 | 15500 | 17000 | 2120 | 3510 | 5070 | |||
| GT32 | 13000 | 14000 | 16000 | 3380 | 5430 | 7540 | 335 | 520 | 755 |
| GT-36 | 7800 | 10000 | 13000 | 3290 | 5360 | 7190 | |||
| GT40 | 7500 | 8800 | 9500 | 4300 | 7300 | 9800 | 428 | 680 | 960 |
| GT-48 | 5800 | 7500 | 9700 | 4900 | 7700 | 10500 | |||
| GT-60 | 4758 | 6530 | 8515 | 5700 | 9800 | 11150 |
|
|
|

| Model | A | Width | C | D | E | F | G/H | Weight |
| mm | mm | mm | mm | mm | mm | Thread(G) | kg | |
| GT-8 | 50 | 33 | 86 | 68 | 12 | 7 | 1/8" | 0.25 |
| GT-10 | 0.255 | |||||||
| GT-13 | 65 | 42 | 113 | 90 | 16 | 9 | 1/4" | 0.565 |
| GT-16 | 0.58 | |||||||
| GT-20 | 80 | 56 | 128 | 104 | 16 | 9 | 1/4" | 1.09 |
| GT-25 | 1.12 | |||||||
| GT-32 | 100 | 73 | 160 | 130 | 20 | 11 | 3/8" | 2.2 |
| GT-36 | 2.3 | |||||||
| GT-40 | 120 | 83 | 194 | 152 | 24 | 17 | 3/8" | 3.69 |
| GT-48 | 3.89 | |||||||
| GT-60 | 140 | 95 | 240 | 195 | 30 | 21 | 3/8" | 5.59 |
Pneumatic vibrator,turbine vibrator,Gear vibrator