Industrial Pneumatic Vibrator Aluminium Alloy Air Power Actuator
K-36 pneumatic ball vibrator with body material aluminum alloy, inlet and exhuasting port size 3/8”G or NPT,working frequency 10000cycles/Minute at 6Bar,centrifugal force 4050N at 6Bar
Quick Detail:
* K-36 Pneumatic ball vibrator
* Body material Extruded Aluminium Alloy
* Inlet and exhuasting port size 3/8”G,NPT
* Working frequence and centrifugal force can be adjustable by air pressure
* Working frequence up to 10000cycles/Minute at 6 Bar
* Centrifugal force up to 4050N at 6Bar
* Low noise 75~95dBA
* High temperature-resistance up to 100℃
* Immediately start,stop,fast response
* Easy to operate,safety application
* Small size,light in weight
Applications:
K-36 Pneumatic ball vibrator used widely in feed material conveyor,vibration screening,vibrating hopper,packaging filling,foundry sand mold vibration etc
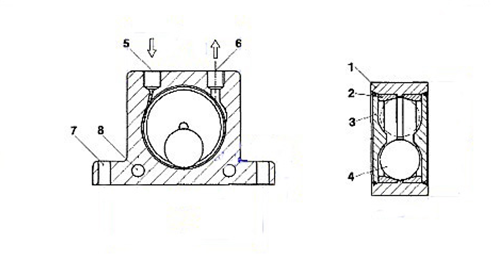
Specifications:

1. Extruded aluminium alloy body
2. Hardened ground steel alloy races
3. Nylon Endplates
4. Hardened lapped ball
5. Air Inlet Port
6. Air exhaust Port
7. Base mounting holes
8. Lateral Mounting
| MODEL | Frequency V.P.M | Centrifugal force | Air Consumption L/m | ||||||
| 2 Bar | 4 Bar | 6 Bar | 2 Bar = 29 PSI | 4 Bar = 58 PSI | 6 Bar = 87 PSI | 2 Bar = 29 PSI | 4 Bar = 58 PSI | 6 Bar = 87 PSI | |
| 29 PSI | 58 PSI | 87 PSI | N | N | N | Ltr. | Ltr. | Ltr. | |
| K-8 | 25500 | 31000 | 35000 | 130 | 260 | 360 | 83 | 145 | 195 |
| K-10 | 22500 | 28000 | 34000 | 250 | 470 | 710 | 92 | 150 | 200 |
| K-13 | 15000 | 18500 | 22500 | 320 | 550 | 870 | 94 | 158 | 225 |
| K-16 | 13000 | 17000 | 19500 | 450 | 800 | 1110 | 122 | 200 | 280 |
| K-20 | 10500 | 14500 | 16500 | 720 | 1220 | 1720 | 130 | 230 | 340 |
| K-25 | 9200 | 12200 | 14000 | 930 | 1570 | 2050 | 160 | 290 | 425 |
| K-32 | 7800 | 9700 | 12500 | 1.51 | 2470 | 3210 | 215 | 375 | 570 |
| K-36 | 7300 | 9000 | 10000 | 2.06 | 3150 | 4050 | 260 | 475 | 675 |

| MODEL | A | B | C | D | E | F | G | H | Weight |
| mm | mm | mm | mm | mm | mm | mm | Thread(G) | kg | |
| K-8 | 50 | 20 | 86 | 68 | 12 | 7 | 40 | 1/4" | 0.13 |
| K-10 | |||||||||
| K-13 | 65 | 24 | 113 | 90 | 16 | 9 | 50 | 1/4" | 0.26 |
| K-16 | 27 | 0.3 | |||||||
| K-20 | 80 | 33 | 128 | 104 | 16 | 9 | 60 | 1/4" | 0.53 |
| K-25 | 38 | 0.63 | |||||||
| K-32 | 100 | 44 | 160 | 130 | 20 | 11 | 80 | 3/8" | 1.13 |
| K-36 | 50 | 1.34 |
Pneumatic vibrator,ball vibrator