19500cycles/Minute Pneumatic Vibrator 1110N For Vibrating Screen
K-16 pneumatic ball vibrator with body material aluminum alloy, inlet and exhuasting port size 1/4”G or NPT,working frequency 19500cycles/Minute at 6Bar,centrifugal force 1110N at 6Bar
Quick Detail:
* K-16 Pneumatic ball vibrator
* Body material Extruded Aluminium Alloy
* Inlet and exhuasting port size 1/4”G,NPT
* Working frequence and centrifugal force can be adjustable by air pressure
* Working frequence up to 19500cycles/Minute at 6 Bar
* Centrifugal force up to 1110N at 6Bar
* Low noise 75~95dBA
* High temperature-resistance up to 100℃
* Immediately start,stop,fast response
* Easy to operate,safety application
* Small size,light in weight
Applications:
K-16 Pneumatic ball vibrator used widely in feed material conveyor,vibration screening,vibrating hopper,packaging filling,foundry sand mold vibration etc
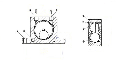
Specifications:

1. Extruded aluminium alloy body
2. Hardened ground steel alloy races
3. Nylon Endplates
4. Hardened lapped ball
5. Air Inlet Port
6. Air exhaust Port
7. Base mounting holes
8. Lateral Mounting
| MODEL | Frequency V.P.M | Centrifugal force | Air Consumption L/m | ||||||
| 2 Bar | 4 Bar | 6 Bar | 2 Bar = 29 PSI | 4 Bar = 58 PSI | 6 Bar = 87 PSI | 2 Bar = 29 PSI | 4 Bar = 58 PSI | 6 Bar = 87 PSI | |
| 29 PSI | 58 PSI | 87 PSI | N | N | N | Ltr. | Ltr. | Ltr. | |
| K-8 | 25500 | 31000 | 35000 | 130 | 260 | 360 | 83 | 145 | 195 |
| K-10 | 22500 | 28000 | 34000 | 250 | 470 | 710 | 92 | 150 | 200 |
| K-13 | 15000 | 18500 | 22500 | 320 | 550 | 870 | 94 | 158 | 225 |
| K-16 | 13000 | 17000 | 19500 | 450 | 800 | 1110 | 122 | 200 | 280 |
| K-20 | 10500 | 14500 | 16500 | 720 | 1220 | 1720 | 130 | 230 | 340 |
| K-25 | 9200 | 12200 | 14000 | 930 | 1570 | 2050 | 160 | 290 | 425 |
| K-32 | 7800 | 9700 | 12500 | 1.51 | 2470 | 3210 | 215 | 375 | 570 |
| K-36 | 7300 | 9000 | 10000 | 2.06 | 3150 | 4050 | 260 | 475 | 675 |

| MODEL | A | B | C | D | E | F | G | H | Weight |
| mm | mm | mm | mm | mm | mm | mm | Thread(G) | kg | |
| K-8 | 50 | 20 | 86 | 68 | 12 | 7 | 40 | 1/4" | 0.13 |
| K-10 | |||||||||
| K-13 | 65 | 24 | 113 | 90 | 16 | 9 | 50 | 1/4" | 0.26 |
| K-16 | 27 | 0.3 | |||||||
| K-20 | 80 | 33 | 128 | 104 | 16 | 9 | 60 | 1/4" | 0.53 |
| K-25 | 38 | 0.63 | |||||||
| K-32 | 100 | 44 | 160 | 130 | 20 | 11 | 80 | 3/8" | 1.13 |
| K-36 | 50 | 1.34 |
Pneumatic vibrator,ball vibrator